- CNC automatic bending machine - TBC 3215
- Manual Bending Machines
- Electric Bending Machines
- Sheet Rolling Machines
- Roofing Tools
- HP18KR Adjustable Hole Punch
- Power Assisted Crimper C5A
- MALCO Hand Crimper C5R
- MALCO Offset Crimper C6R
- MALCO Hand Seamer S2R Straight
- MALCO Hand Seamer S3R Offset
- MALCO Hand Seamer S6R
- MALCO Hand Seamer S9R - available upon request
- MALCO Hole Cutters HC1 & HC2
- MALCO Drip Edge Folding Tools DEFT/DEFT1
- TurbosShear drill attachment TS1
- TurbosShear Heavy Duty™ drill attachment
- Corrugated Metal Cutting TurboShearCM
- TurboShearSS for Asphalt Roofing Shingles
- TurboShearMD for Metal Cutting
- TurboShear Heavy Duty Replacement Blades
- 1/8 in. Ceiling Grid Punch CGPR
- Punch Lock Metal Stud Crimper PL1R
- Dead Blow Hammer DB1
- Gutter Outlet Saws GOS4/5
- Combination arbor for GOS Outlet Saws - GOSA
- MALCO N1R Hand Notcher
- 90* Aviation Snips AV8 & AV9
- ULTRA Lightweight Snips ULC
- Andy 12 in. (31 cm) Pattern Snip
- Sheet Metal Scriber
- AV’s Offset Left Mini Snips AVM6
- AV’s Offset Right Mini Snips AVM7
- MAX2000 Aviation Snips M2001 Left Cut
- MAX2000 Aviation Snips M2002 Right Cut
- MAX2000 Aviation Snips M2003 Combo
- MAX2000 Aviation Snips M2004 Double Cut
- MAX2000 Aviation Snips M2005 BULLDOG
- MAX2000 Aviation Snips M2006 Left Offset
- MAX2000 Aviation Snips M2007 Right Offset
- Aviation Snips AV 1/2/3
- Aviation Snips AV 6 - AV 7
- Carbide Scribe A50
- MSHCM1 C-RHEX® Magnetic Hex Drivers
- Jouanel
- Roll Groover
- Roller shears
- Manual Roller Hem Press
- Guillotines for sheet metal
- Bead Rollers
- Sheet Metal Decoilers
- Custom Tools
- Radius Brake
- Jouanel Tools
- CBID - SNIPS WITH SPRING , 280 MM, RIGHT-HANDER CUT
- CBIDS - SHAPE AND STRAIGHT CUTTING SNIPS, TO THE RIGHT, 280 MM, PAINTED HANDLES
- CBIG - SNIPS WITH SPRING , 280 MM, LEFT-HANDER CUT
- CBIGS - SHAPE AND STRAIGHT CUTTING SNIPS, TO THE LEFT, 280 MM, PAINTED HANDLES
- CGRO - OBLONG NIBBLING SHEARS, 35 x 3 mm
- CPIDQS - TINMEN'S / PELICAN SNIPS, WITH SPRING, RIGHT-HANDER CUT, HIGH QUALITY
- CTRDC - PUNCH SNIPS CURVED, 270 MM, RIGHT-HANDER CUT
- CTRGC - PUNCH SNIPS CURVED, 270 MM, LEFT-HANDER CUT
- MAC35 - PVC HAMMER, RECTANGULAR NOZZLE 145 x 75 x 35 mm, WOODEN HANDLE
- MACO - PVC HAMMER, TRIANGULAR AND RECTANGULAR NOZZLE, 145 x 75 x 35 mm, WOODEN HANDLE
- PABP - FLAT NOSE PLIERS
- PABR - ROUND NOSE PLIERS
- PADE - SEAM OPENING PLIERS
- PBC60 - CLINCHING PLIERS 45° BENT, 60 MM, DEPTH 65 MM
- PBC960 - CLINCHING PLIERS 90° BENT 8, 60 MM, DEPTH 54 MM
- PBD100 - CLINCHING PLIERS STRAIGHT, 100 MM, DEPTH 60 MM
- PBD60 - CLINCHING PLIERS STRAIGHT, 60 MM, DEPTH 63 MM
- PBTRI - TRIANGULAR CLINCHING PLIERS, 80 MM, DEPTH 80 MM
- PBTRI100 - TRIANGULAR CLINCHING PLIERS, 100 MM, DEPTH 100 MM
- PPIC - PICCOLO PATTERN PLIERS, 22 MM, BENDED
- PPID - PICCOLO PATTERN PLIERS, 22 MM, STRAIGHT
- Spare parts and Accessories
- 2025 Catalog
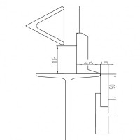
HSS-1270/1.2 Segment bending machine
Work width:
1270 mm
Max. thickness of the sheet:
1.2 mm for Rm < 400 MPa
Max. bend angle: 155°
Bending beam width: 15 mm
Weight: 350 kg
The HSS-1270/1.2 segment bending machine is the first machine produced by our company to have split upper and lower working beams. The height of the clearance between the machine base and the upper knives is as much as 102 mm, which results in a very wide range of possibilities for bending of sheet metal plates.
HSS-1270/1.2 bending machine is ideal for fabrication of flashings such as: chimneys, drip eaves, firewall flashings, and many others.
Sturdy and solid construction (machine weight 350 kg) ensures failure-free bending of steel sheets up to 1.2 mm thickness.
Pressing and bending beam elements:
25/30/35/ 40/45/50/75/100/150/200/250/270 [mm]






